试验机 >> 其它试验机
QSX-17抗穿孔性仪,测定PVC防水卷材抗穿孔性
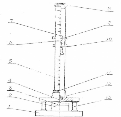
产品介绍 精科QSX-17抗穿孔性仪是一款用于测试PVC防水卷材抗穿孔性能的专业仪器,符合标准GB12952—91的规定。它采用12.7mm直径的钢球,在控制螺钉的作用下,通过控制器组件将重锤从一定高度释放,撞击冲杆,测试PVC防水卷材的抗穿孔性能。该仪器具有精确的导管刻度和重锤重量,能够提供可靠的测试结果,是评估产品质量和合格性的重要工具。它的结构坚固,外形紧凑,易于操作和维护,是防水卷材生产和质量控制过程中的出色选择。 QSX-17抗穿孔性仪概述 精科QSX-17抗穿孔性仪是符合标准GB12952—91的规定,主要是用于在重锤从高处下落冲击PVC防水卷材时测定其抗穿孔性能,以此检验产品的合格性。QSX-17抗穿孔性仪带有直径为12.7mm的钢球,其导管长度为500mm。 QSX-17抗穿孔性仪原理 用控制器组件将重锤提起,固定在所要求的高度上,其高度由定位标上可读出,按压控制螺钉,则控制器弹簧被压缩,控制器滑块的圆孔与控制器上盖及控制器下底的圆孔对正挂钩,此对重锤下落,撞击冲杆,冲杆向下作用在试样板上,提升重锤、冲杆,取出试样板,以观察试样的抗穿孔性。,以测定其抗穿孔性。 QSX-17抗穿孔性仪结构图
(1)底座 (2)垫块 (3)垫板 (4)冲杆 (5)带刻度的导管 (6)定位标 (7)挂钩 (8)上盖 (9)控制器组件 (10)重锤 (11)锁管螺栓 (12)压板 (13)支柱所 其中控制器组件有:(1)控制器下底(2)控制器螺钉 (3)控制器弹簧(4)控制器上盖(5)控制器滑块(6)控制螺钉。 技术参数
|
相关产品
|





