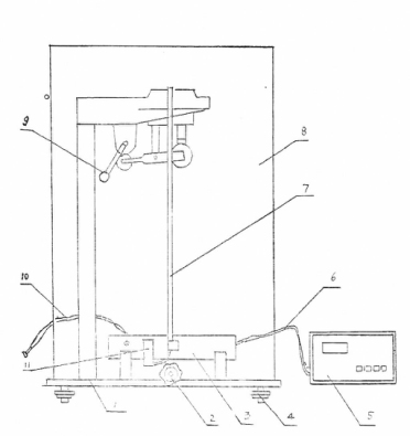
产品介绍 QHD-P 摆杆阻尼试验仪是一款用于测定色漆、清漆等漆膜硬度的专业设备,依据ISO1522和ZBN72020-86标准设计。仪器配备两种摆杆(科尼格摆和铂撒兹摆),分别适用于不同硬度的漆膜测试。其核心优势在于通过测量摆杆在漆膜表面的摆幅衰减时间来精准评估漆膜硬度,表面越软,衰减越快,反之则越慢。该设备采用高精度的Persoz摆杆,质量为500±0.1g,周期为1±0.001秒,摆动时间≥420秒,摆动次数为420次±14次,确保测试结果的准确性和可靠性。 QHD摆杆阻尼试验仪概述 QHD摆杆阻尼试验仪是精科根据标准ISO1522和ZBN72020-86生产设计的用于测定色漆、清漆等相关产品的漆膜硬度,配备了科尼格摆和铂撒兹摆两种不同总质量的摆,分别为200+0.2g和500+0.1g。QHD摆杆阻尼试验仪的主要结构包括仪器座、摆杆、技术装置、仪器罩。 摆杆阻尼试验仪工作原理 漆膜硬度是根据接触漆膜表面的摆杆以一定周期摆时在漆膜上摆幅衰减的阻尼时间(s表示),如表面越软的话则摆幅衰减越快,反之就越慢的原理。注意,用不同结构、质量、尺寸,周期的科尼格(Konig)和铂铲兹(Persoz)两种摆杆所作的试验结果之间没有换算关系,这是因为摆杆与涂层间的互相作用还取决于涂层具有的复杂的弹性和粘度等原因。所以产品标准中测定某种漆膜的阻尼时间,只规定使用一种摆杆。 QHD摆杆阻尼试验仪结构图
1、主机 2、起动手柄 3、标尺 4、水平调整脚 5、计时器 6、光电信号线 7、摆 8、仪器罩 9、托板控制手柄 10、快门线 11、光电管架 有机玻璃罩的安装图
1、上盖 2、前板 3、后板 4、左侧板 5、右侧上板 6、右侧下板 7、边门 8、后门 技术参数
|
相关产品
|






