橡塑行业专用测试仪 >> 其它橡塑用测试仪
QGZ-6 12 24漆膜干燥时间测定仪,划针半径0.25/0.5/1.0/1.5mm
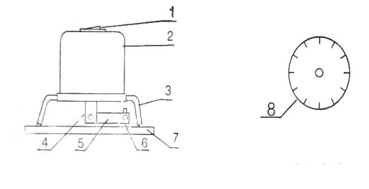
产品介绍 精科QGZ-6 12 24漆膜干燥时间测定仪是一款用于测量涂料干燥时间的仪器,可自动连续展示涂膜干燥过程的各个阶段状态,通过描绘圆形轨迹来观察和分析各阶段所用的时间。该仪器适用于各种涂料的检测和涂料配方研究,可帮助用户准确评估涂料的性能和干燥时间。具有多种划针规格和干燥周期选择,满足不同需求。 漆膜干燥时间测定仪用途 QGZ-(6、12、24)型漆膜干燥时间测定仪是测量涂料干燥时间的一种新型仪器。对于各种涂料所形成的涂膜都能以描绘圆形轨迹的形式自动连续展现干燥过程各个阶段的状态,能直观地分析、观察各阶段所用时间。是涂料检测及涂料配方研究的称心仪器。 QGZ-6 12 24漆膜干燥时间测定仪结构 由开关(1),外罩(2),电机(在罩内),支脚(3),连接轴(4),转臂(5),划针(6),试板(7),时间刻度盘(8)组成。
自动漆膜干燥时间测定仪使用要求 1、试板:玻璃板(200*200*2~3)。或平滑马口铁板(200*200*0.2~0.3)或商定的试板材料。 2、试验环境:按GB1727-79要求,涂好的试板水平放置,避开气流、无阳光直射,在温度为25±1℃,相对湿度为65±5%的条件下进行干燥试验或按其它商定的条件进行干燥试验。 漆膜干燥时间测定仪原理 将漆膜干燥时间测定仪放置在制备好的涂膜试板上,接通电源、同步电机,通过连接轴(4)带动装有划针(6)的转臂(5)。(转臂为自由垂落状态)以一周/6小时、一周/12小时、一周/24小时的速度匀速转动,划针即在涂膜上划出直径为100mm的圆形轨迹。由于涂膜随时间延长而逐渐干燥,因而划针在涂膜上的犁痕由宽变窄,由深变浅,以至最后划不出痕迹,从而显示出干燥情况的全过程。 技术参数
|
相关产品
|





