橡塑行业专用测试仪 >> 其它物性分析仪/测定仪
QGZ-24漆膜干燥时间测定仪,测定涂料干燥时间
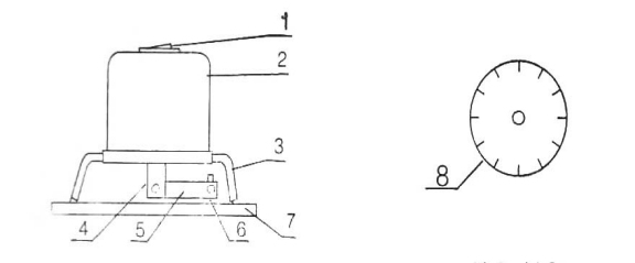
产品介绍 QGZ-24漆膜干燥时间测定仪概述 精科QGZ-24 漆膜干燥时间测定仪是一款通过对涂料形成的涂膜以描绘圆形轨迹的形式自动连续展现干燥过程各个阶段状态并能直观分析观察各阶段所需的时间的新型涂料干燥时间测量仪器。QGZ-24漆膜干燥时间测定仪划针所划圆形轨迹直径为100mm,端部直径为0.25、0.5、1.0、1.5mm四种。 QGZ-24漆膜干燥时间测定仪结构图 1、开关 2、外罩 3、支脚 4、连接轴 5、转臂 6、划针 7、试板 8、时间刻度表 QGZ-24漆膜干燥时间测定仪使用要求 1、试板:玻璃板(200*200*2~3)或平滑马口铁板(200*200*0.2~0.3)或商定的试板材料。 2、试验环境:按GB1727-79要求,将涂好的试板水平放置,避开气流、无阳光直射,在温度为25±1℃,相对湿度为65±5%的条件下进行干燥试验或按其它商定的条件进行干燥试验。 QGZ-24漆膜干燥时间测定仪工作原理 将QGZ-24漆膜干燥时间测定仪放在制备好的涂膜试板上,接通电源、同步电机,通过连接轴带动装有划针的转臂。(转臂为自由垂落状态)以一周/6小时、一周/12小时、一周/24小时的速度匀速转动,划针即在涂膜上划出直径为100mm的圆形轨迹。由于涂膜随时间延长而逐渐干燥,因而划针在涂膜上的犁痕由宽变窄,由深变浅,以至最后划不出痕迹,从而显示出干燥情况的全过程。 技术参数
|
相关产品
|





