试验机 >> 冲击试验机
QCJ-120漆膜冲击试验器, 120cm/1000g
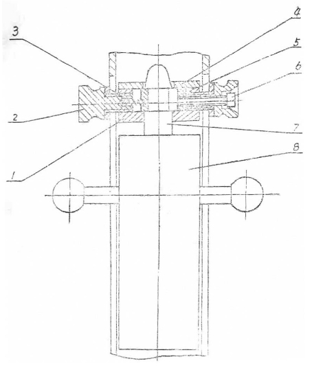
产品介绍 精科QCJ-120漆膜冲击试验器是一款可靠的漆膜耐冲击性测试仪器,能够用固定质量的重锤在最大高度120厘米下冲击试板,而不会对漆膜造成损坏,并且无二次回弹现象。该设备的结构坚固,包括底座、枕垫块、冲杆等部件,具有简单易用的特点。QCJ-120型符合GB/T 1732-1993标准,可精确测试涂层的冲击性能,适用于涂料制造和质量控制领域。 QCJ-120(120A、120B)型系列漆膜冲击试验器用于以固定质量的重锤落于试板上而不引起漆膜破坏的最大高度120厘米表示的漆膜耐冲击性试验。本仪器冲击头冲击试板后,无二次回弹现象。 主要结构
1、底座;2、枕垫块;3、冲杆;4、支臂;5、螺钉;6、滑筒;7、定位标;8、控制器组件
1、控制器下底;2、控制器电器丁;3、控制器弹簧;4、控制器上盖;5、控制器滑块;6、控制螺钉;7、挂钩;8、1Kg(2Kg)重锤组件 工作原理 由控制器螺钉将带有挂钩的重锤固定在所要求的高度上,其高度即滑筒刻度所示高度刻线与定位标刻线重合。按压控制螺钉则控制器弹簧被压缩,此时控制滑块的圆孔与控制器上盖及控制器下底的圆孔对正使挂钩脱落,重锤落下,撞击冲杆,冲杆向下作用在事先放在枕垫块上的试板上。之后,提升重锤体,取出试板,以观察试板上漆膜试验情况。 QCJ系列冲击试验器系列参数对比
技术参数
|
相关产品
|






